公司簡介 產品說明 最新消息 簡體中文 回首頁

 

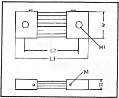
TYPE
50mV

250A
300A
400A
500A
600A
L1
113+-2
113+-2
113+-2
113+-2
119+-2
L2
79.5+-2
79.5+-2
79+-2
85+-2
84+-2
W
36
36
45
56
56
H
19.5
19.5
19.5
20
23
M
4
4
4
4
4
M1
13
13
13
13
13
Kg
0.32
0.39
0.51
0.64
0.8

                            台灣省 新北市三重區中正北路133∼135號3樓 TEL:886-2-2982-9577∼2971-4458 FAX:886-2-2987-4317

                            浙江省衢州市經濟開發區三衢路284號    TEL:86-570-3867658 3867577 FAX:86-570-3867458